用途:
片料智能供料器适用于单张离型纸的标签、PVC面板、柔性电路板、泡棉、铜箔、铝片等片装封装物料自动剥离.
性能特点:
1.整机一体化,内置32位高速处理器控制系统,可单机和连机使用。
2.出标控制采用传感器+软件补偿模式,即使用来料产品间距不准,也可以完美消除误差。
3.前推供料剥离,先剥离后取料,兼容单列或多列同时出料。
4.配置纳米防粘平台,使用寿命>30万次。
5.拉料采用步进电机控制机构,无料耗材辅料 。
6.料箱容量大,采用丝杆模组供料,进料精准。
参数:
型号 | HJX100 | HJX150 | HJX200 | HJX250 |
底纸尺寸(长X宽) | 100* 300 | 150* 300 | 200* 300 | 250* 300 |
剥标方式 | 前推剥离+底纸回收 | |||
物料定位模式 | 光电感应+软件补偿 | |||
接料平台 | 纳米防粘涂层 | |||
送料精度 | 0.2 | |||
料箱装料深度 | 120mm | |||
电源 | DC24V 6A (200W) | |||
气源 | 0.4-0.6MPa | |||
通讯接口 | GPIO(NPN信号) | |||
剥料电机 | 同步带+步进电机 | |||
移载机构 | 同步带+步进电机 | |||
光纤 | φ1.0 X1P | |||
控制面板 | 4.3寸彩色触摸屏 | |||
控制系统 | PLC | |||
机座材质 | AL .6061 | |||
压料张力 | 手动可调调节 | |||
废料回收 | 同步回收 | |||
纠偏装置 | 当块纠偏 | |||
底纸要求 | 底纸前后留白≥20mm | |||
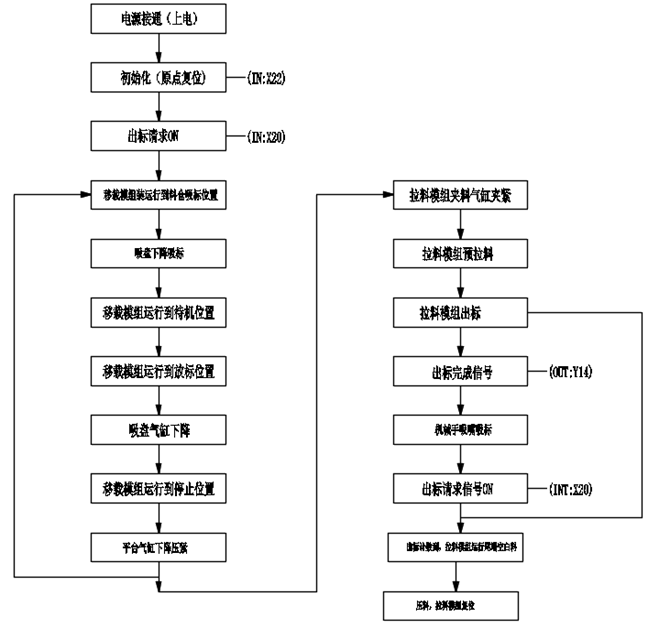
运行流程
